|
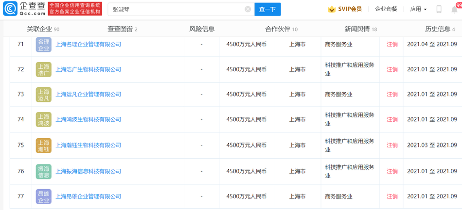
【直报网北京9月18日讯】(新浪娱乐)9月16日,据企查查消息,台湾女演员张庭(本名张淑琴)担任法定代表人的9家公司,包括上海浩广生物科技有限公司、上海运凡企业管理有限公司等于近日核准注销。据资料显示,张庭注销的这9家公司全是在今年上半年成立,注册资本皆为4500万人民币,合计约4.05亿人民币。 (原标题:张庭被曝接连注销9家公司 总注册资本超4亿) 责编:小美 【特别声明:部分文字及图片来源于网络,仅供学习和交流使用,不具有任何商业用途,其目的在于传递更多的信息,并不代表本平台赞同其观点。版权归原作者所有,如涉版权或来源标注有误,请及时和我们取得联系,我们将迅速处理,谢谢!】 解读新闻热点、呈现敏感事件、更多独家分析,尽在以下微信公号,扫描二维码免费阅读。
|

















