完美古润金:我是一个华

完美古润金:我是一个华

 旅居在世界各地的海外华人有数千万之多,由于居住国家及其社会环境因素的影响,

章诗辰:从“微商女神”

章诗辰:从“微商女神”

一个来自中国市场的90后女孩,以超乎想象的速度在两年内登顶美乐家经销商从未企及

白学锋:直销企业在推进

白学锋:直销企业在推进

10月11日至13日,由道道舆情监控室和海伦国际直销研究中心主办、道道国际传媒承办的

当前位置: 直销报道网 > 快讯 >

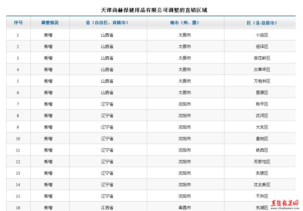
商务部发布天津尚赫调整直销区域

时间:2014-07-25 10:35来源:商务部 作者:商务部 点击:
商务部发布天津尚赫调整直销区域

(原标题:商务部发布天津尚赫调整直销区域)

责任编辑:王鹏娟

顶一下
(0)
0%
踩一下
(0)
0%
分享到:
------分隔线----------------------------
发表评论
请自觉遵守互联网相关的政策法规,严禁发布色情、暴力、反动的言论。
评价:
关于我们 | 联系我们 | 诚聘英才 | 服务条款 | 广告服务 | 频道合作 | 本网内容授权书
Copyright © 1998 - 2013 www.Chndsnews.com All Rights Reserved
直销报道网 © 版权所有 京ICP备13035451号