|
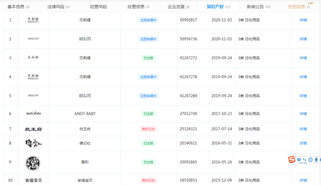
【直报网北京1月12日讯】(C2CC传媒)据企查查显示,德云社所属公司北京德云社文化传播有限公司于2020年11月3日申请注册3类日化用品“贝丽缇、BEILITI”商标,商品类别包含化妆品、洗面奶、洗衣粉等,目前商标状态为注册申请中。 看来,德云社还是不愿放弃化妆品这块大蛋糕。 德云社进军美妆,不是头一回 企查查显示,德云社早在2014年就已注册“贝莉缇”商标,该商标国际分类均为3类日化用品,涉及产品包括了化妆品、洗面奶、洁肤乳液、唇膏、美容面膜等。2018年4月25日在微博发布第一款产品,贝莉缇磁石气垫,但是“贝莉缇”微博账号也已在2020年1月停更。 国家药监局化妆品备案系统显示,德云社在2018年起对“贝莉缇”的5款产品进行过国产非特殊用途化妆品备案,包括面膜、卸妆巾、润肤体膜等产品。
“贝莉缇”产品的宣传主要是借助德云社相生演员张云雷热度,就2020年发布的12条微博而言,其中10条带有张云雷相关话题。比如,购买三盒面膜送张云雷同款羊毛围巾,关注微博参与抽奖张云雷签名照、抽取张云雷·杨九郎跨年专场门票等。“水能载舟,亦能覆舟”,贝莉缇在市场上的消失与代言人是否有关,德云社自己肯定是比外界更为了解。 德云社涉足化妆品行业也不是首次,根据企查查,郭德纲最早注册日化用品商标是在2009年,但在同日,以郭德纲为名的商标在各个经营范围都有注册,虽不能说郭老在日化用品行业的长远之见,但也是为未来走入化妆品行业埋下伏笔。
早在2014年,郭德纲就创立波碧水bobi water,现在还留有微博官方号,基本零互动,置顶微博算是流量顶峰,有211条评论,但这也比郭老的其他日化用品商标,ANDY BABY、图形等要好些。在淘宝搜寻波碧水bobi water之后,并无官方店铺,便给波碧水bobi water官方微博发私信询问购买方式,这才给出客服微信,说是添加购买。 从最初的抢注商标,到慢慢的一个个品牌的搭建,德云社对化妆品行业的涉足虽不能算是一步一个脚印,但也是有所意识、有所打算的涉猎,2020年再次加注“贝莉缇”商标,也能看出德云社对化妆品行业的长久打算,至于后续“贝莉缇”发展势头如何,还需时间去检验。 艺人跨界化妆品为什么容易扑街? 近年来,明星艺人跨界化妆品行业的不在少数,范冰冰的“FAN BEAUTY”、张予曦的“EGOCI”、古天乐的“KooCool+酷古”等都是在艺人光环加持下诞生的化妆品品牌。不论是当红小生,还是拥有国际知名度的国际艺人,有着在聚光灯下抗打的护肤经验,冲击化妆品行业确实有着明显的晕轮效应,能够带动品牌往前走。 艺人凭借自身的热度和对化妆品的使用心得,再加之女性是冲在娱乐圈前线挥舞荧光棒的主力军,自身有良好的消费者基础,要打造一支完美的消费者队伍实属容易。就以德云社为例,前几年的张云雷,近两年的秦霄贤,还有少班主郭麒麟,聚合了“德云社女孩”这么一支贴合化妆品消费者的队伍。如果现在再次跨界化妆品行业,也能比郭德纲2014年创立的波碧水bobi water活得更长。 虽明星效应发挥的力量着实显著,艺人跨界做化妆品的也不在少数,但为何扑街的还是绝大多数?羽泉的羽泉男士运动醒肤系列,余少群的面膜品牌“杨澜芳华”,沈凌的“CHUFU初肤”都是没活几个月,就被挤出市场边缘。 从微商时代的火热到现如今回归淘宝,把握好私域流量一直都是艺人跨界化妆品的主要营销手段。对于粉丝圈层以外的个人,如果能接触到艺人所创办的化妆品品牌,多是周围的KOC或者KOL在起作用。粉丝群体对于艺人产品的口碑至关重要,甚至成为艺人跨界化妆品成功与否的决定性环节,最初层次的消费者也能直接影响产品的后续销售情况。若只局限于“自身影响力+口耳相传”,其产品的传播力还需提高。 在产品营销过程中,请明星代言广告是一种主要的方式,艺人自创品牌时也考虑到自身得天独厚的好处,却忽略了多渠道广告投放,忽略了各种宣传手段。“贝莉缇”产品从始至终就邀请了张云雷一位代言人,推广方式寥寥无几,反观雅诗兰黛,作为化妆品行业的翘楚,仍不惜在广告上投资,仅2017年一年,雅诗兰黛就投放了超过18次的朋友圈广告。 同时,艺人跨界产品因其售价过高,瞄准的消费者群体比较局限。据庭秘密天猫官方旗舰店,一盒5片装的TST苹果肌面膜,售价为188元,售价虽然远比不上前男友面膜,但是“剿灭”25岁以下的学生群体还是足以。据某调查数据,大学生对化妆品的消费金额在500元以下的占比89.32%,如能选择一套将近200元的面膜还需有一些经济实力。 化妆品市场的饱和程度不亚于其他领域,如果艺人自创品牌再来插一脚的话,着实需要费些功夫。 如何在竞争中获得生机? 好的产品离不开好的营销,虽“是金子总会发光”,但独自美丽只能黯然神伤。 肯在营销上下手笔,肯为产品知名度、美誉度砸钱,再打造顾客的忠诚度,让产品有回头客,产品才能维持持续销售的上升红线。保证产品质量,不仅是利于产品,更是利于艺人本身效益的一种最佳选择,而降价也是扩大消费者面的重要手段,目标消费者多了,机会就更多了。 艺人跨界化妆品还需打亮产品卖点,突出产品不同,利用好注意力经济和大众传媒的影响力,能够很快在市场上普及自家产品。 至于“贝莉缇”是否能够借助消费者最初对产品的好奇心,实现长久的购买力,那还得依赖于德云社各位先生对产品是否上心。
如果没有好的产品质量保证,也没有“欲戴皇冠,必承其重”的低头姿态,跨界化妆品还需三思而后行。
(原标题:德云社跨界做化妆品,强大竞争下如何获生机?) 责编:小美 【特别声明:部分文字及图片来源于网络,仅供学习和交流使用,不具有任何商业用途,其目的在于传递更多的信息,并不代表本平台赞同其观点。版权归原作者所有,如涉版权或来源标注有误,请及时和我们取得联系,我们将迅速处理,谢谢!】 解读新闻热点、呈现敏感事件、更多独家分析,尽在以下微信公号,扫描二维码免费阅读。
|

















